查看: 4715|回复: 8

测试区 给一点点建议

[复制链接]

2

主题

2

回帖

22

积分

稻草人

Rank: 1

积分
22
鲜花(0) 鸡蛋(0)
发表于 2020-4-6 18:50:09 | 显示全部楼层 |阅读模式
内侧开始后我一直玩道士 升级非常乏累不说 而且宝宝好菜
第一次更新 爆率问题更改了

第二次更新 法师宝宝控制了 要不满地图大多多法 烦死你

我现在33级 好不容易穿上幽灵了 结果和灵魂战衣一样 为什么不能改改呢 截然不同的衣服 外观还一样
发表于 2020-4-6 19:37:23 | 显示全部楼层
您好, 在老传奇里 这两种衣服的外观就是一样的  目前的170就是复古版本

2

主题

2

回帖

22

积分

稻草人

Rank: 1

积分
22
鲜花(0) 鸡蛋(0)
 楼主| 发表于 2020-4-6 21:56:46 | 显示全部楼层
谢谢回复 那是传奇2  这是神途

821

主题

3525

回帖

36万

积分

管理员

『蓝月管理组』

Rank: 9Rank: 9Rank: 9

积分
361918

荣誉管理

鲜花(10) 鸡蛋(4)
发表于 2020-4-6 22:54:37 | 显示全部楼层
wx_KLRPH 发表于 2020-4-6 21:56
谢谢回复 那是传奇2  这是神途

您好

我们是做传奇模式,不是按照神途做

我觉得神途现在最好的单体复古服是飞扬跟龙门,飞扬是传世模式,龙门是传永模式

蓝月本就是做传奇出身,这个大家也都知道,所以我们肯定是要做传奇模式,所以希望玩家能区分开

希望您能理解

170版,本就不应该有花里胡哨的东西,其实神途系列复古放到传奇里都有点微变了

我们是要做,尽量的原汁原味



0

主题

3

回帖

12

积分

稻草人

Rank: 1

积分
12
鲜花(0) 鸡蛋(0)
发表于 2020-4-7 01:08:38 | 显示全部楼层
蓝月M2 发表于 2020-4-6 22:54
您好

我们是做传奇模式,不是按照神途做

金币和垃圾的暴率有点低,道士钱都不够买药换装备,其他职业怎么活啊。

821

主题

3525

回帖

36万

积分

管理员

『蓝月管理组』

Rank: 9Rank: 9Rank: 9

积分
361918

荣誉管理

鲜花(10) 鸡蛋(4)
发表于 2020-4-7 02:18:46 | 显示全部楼层
orangesasuke 发表于 2020-4-7 01:08
金币和垃圾的暴率有点低,道士钱都不够买药换装备,其他职业怎么活啊。

慢慢玩

170本就是这样

再一个,我们游戏不出售金币,金币是保值货币,自然不可能跟其他游戏一样是垃圾

但如果会玩,其实攒金币也很快

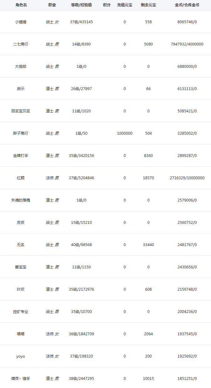
以下是测试区随便抽取的数据,可以看到玩家身上的金币,大多都是几百万,这还是测试阶段,大多数人都是随便瞎玩玩而已
这些玩家也都是游戏内通过各种方式获得的金币,人家可以,你也可以,不是么?

我们的版本,都是完全可以让玩家自给自足的,但是前提是勤快点,不适合快餐服玩家的

7777777777777.png


0

主题

4

回帖

22

积分

稻草人

Rank: 1

积分
22
鲜花(0) 鸡蛋(0)
发表于 2020-4-7 10:48:27 | 显示全部楼层
你这不叫随便抽取的数据吧,应该是从高到低排的吧。

0

主题

3

回帖

12

积分

稻草人

Rank: 1

积分
12
鲜花(0) 鸡蛋(0)
发表于 2020-4-10 10:41:30 | 显示全部楼层
蓝月客服—兔兔 发表于 2020-4-6 19:37
您好, 在老传奇里 这两种衣服的外观就是一样的  目前的170就是复古版本

个人认为那已是十八年前了,肯定有很多缺点,希望蓝月在尽量靠近02传奇的同时有自己的创新,楼主说的战神幽灵恶魔衣服的确是曾经的缺点,以前是条件差,没得选,但现在可以选的外观很多,应该可以更新一下的。(现在普遍都是龙门那种幽灵级别的风格其实还不错,即不花哨也好分辨

0

主题

2

回帖

8

积分

稻草人

Rank: 1

积分
8
鲜花(0) 鸡蛋(0)
发表于 2020-4-10 18:44:04 | 显示全部楼层
不过说实话 灵魂和幽灵.还有重盔甲和战神 这些衣服的外观真的需要改一下了 这真的是传奇的硬伤
您需要登录后才可以回帖 登录 | 立即注册   

本版积分规则

QQ|Archiver|小黑屋|最好玩的复古传奇 www.LanyueOL.com ( 鲁ICP备19030393号 )

GMT+8, 2025-10-24 04:52 , Processed in 0.291973 second(s), 48 queries .

Powered by Discuz! X3.4

!copyright!

快速回复 返回顶部 返回列表